EFM EVAPORATORS
EFM 3s
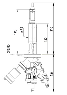
EFM evaporator with ion suppressor
The EFM 3s adds an additional electrode to the EFM 3. A part of the evaporant beam in all products of the EFM-series is ionized by the electron bombardment during heating. Most of these ions are captured by the flux monitor electrode.
As the evaporant is on high voltage with respect to the grounded sample the remaining ions may create defects in the substrate surface and deposit energy. To generate a 100 % neutral beam an additional voltage is applied at the suppressor electrode of the EFM 3s. The additional voltage is supplied by power supply EVC 300s or EVC 100s.
Key features
- Evaporation area 4-20 mm
- Flux monitor
- Integrated shutter
- Ion suppressor (neutral evaporant beam)
- Crucible capacity up to about 700 mm3
- Mounting flange NW 35 CF
- All other features same as EFM 3
Upgrade packages for existing EFM 3 are available on request. All other features of the EFM 3 are fully preserved.

